福特源產品分類
聯系我們
北京福特源升降機械有限公司
銷售一部:13269775127 劉經理
固話:010-83820165
銷售二部:13121309961 劉經理
技術部:15611270756 劉師傅
辦公郵箱:750575023@qq.com
地址:北京市豐臺區
固定式登車橋
產品分類:液壓登車橋
產品型號:
動力源:
額定載荷:
最高高度:
臺面尺寸:
適用范圍:
可根據要求定制
訂購熱線:132-6977-5127




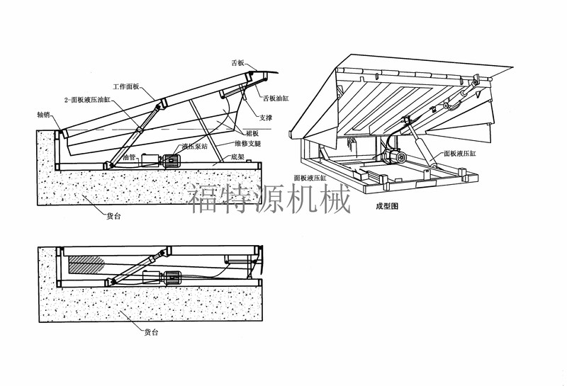
登車橋(裝卸貨升降平臺):
登車橋分為固定式、移動式兩種,采用國產/進口液壓系統。它的主要作用是在貨臺與運輸車輛之間搭起一座橋,使叉車便利地行駛,達到高效裝卸貨目的。該設備一端與貨臺等高,另一端搭在車廂后沿,并能根據不同的車型及裝車過程中車廂的高低變化,自動調整高度。該產品可根據用戶的不同需要,在外形尺寸、承受載荷等方面特殊設計。
本產品廣泛應用于郵政、糧倉、車站、碼頭、海洋運輸倉儲物流配送等行業。設備兩側設有防軋裙板,使工作提高安全性,保證叉車等搬運車輛通過登車橋直接進入貨車內部進行批量裝卸,僅需單人作業,即可實現貨物的快速裝卸。它使企業減少大量的勞力,提高工作效應,獲取較高的經濟效益。



歡迎來到北京福特源升降機械有限公司官網,如果您在選購過程中遇到問題,或對我們的工作有任何的建議,您可通過以下方式聯系我們。
北京福特源升降機械有限公司
全國服務熱線:132-6977-5127
電話:010-83820165
地址:北京市豐臺區









